产品目录
液体涡轮流量计
液体流量计
水流量计
油流量计
气体涡轮流量计
椭圆齿轮流量计
电磁流量计
涡街流量计
蒸汽流量计
孔板流量计
旋进旋涡流量计
热式气体质量流量计
转子流量计
浮子流量计
靶式流量计
气体流量计
超声波流量计
磁翻板液位计
浮子液位计
浮球液位计
玻璃管液位计
雷达液位计
超声波液位计
投入式液位计
压力变送器
差压变送器
液位变送器
温度变送器
热电偶
热电阻
双金属温度计
推荐产品
联系我们
- 金湖凯铭仪表有限公司
- 联系电话:15195518515
- 在线客服:1464856260
- 电话:0517-86801009
- 传真号码:0517-86801007
- 邮箱:1464856260@qq.com
- 网址:http://www.bhdmvez.cn
- 地址:江苏省金湖县理士大道61号
智能不锈钢柴油流量计的硬件设计与程序设计
发布时间:2021-01-10 06:46:27??点击次数:2327次
摘要:不锈钢柴油流量计广泛应用于流量测量领域,本文针对不锈钢柴油流量计的特点设计了一种基于DSP智能不锈钢柴油流量计,它能够实时采集脉冲信号,并显示在液晶显示屏上,同时还能通过RS485通信将数据远传至上位机。智能不锈钢柴油流量计内置仪表系数修正算法,能够消除流变化导致仪表系数变化而产生的误差。
不锈钢柴油流量计广泛用于流量测量领域,具有安装简便、精度较高、能够直接进行脉冲输出等特点,目前广泛应用于工业及民用的流量计量等装置中。由于不锈钢柴油流量计能够直接输出脉冲,且不锈钢柴油流量计的仪表系数会随流速的变化而变化,易于使智能仪表对其脉冲流量信号进行现场处理,如果智能仪表不能实时对仪表系数进行修正,则需要对不锈钢柴油流量计进行标定,否则将产生较大测量误差。
1不锈钢柴油流量计功能概况
不锈钢柴油流量计属于速度式流量测量计,其工作原理是在流体管道内安装涡轮,利用流体流动时产生的推力使涡轮叶片转动,涡轮的转速和流体的流速将成正比例关系,同时,安装在计量仪表壳体的电磁感应接收器实时接收由叶轮转动引起的磁场变化而产生的脉冲,智能仪表收集到脉冲之后进行滤波放大,即可通过简单的比例关系计算出管道的实时流量。不锈钢柴油流量计其内部机械机构见图1。
智能仪表以DSP为处理器,它采集到涡轮流量传感器传送的脉冲信号后通过滤波放大后在处理器内进行运算,并将运算结果显示在液晶屏上,同时还能够通过RS485通信向上位机远传流量信息。图2为涡轮流量智能仪表的内部功能??榻峁雇?。


2智能不锈钢柴油流量计的硬件设计
2.1涡轮脉冲输入调理电路
由于涡轮流量传感器产生的电脉冲信号有一定的噪声信号,并且电压只有几十毫伏,所以在将信号输入到DSP处理器之前进行滤波、整形和放大。*82页图3为涡轮脉冲输入调理电路。
2.2液晶显示
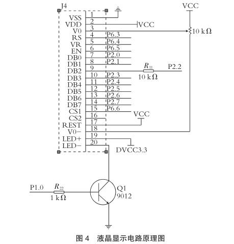
液晶选择12864点阵式液晶,它能够动态显示各种图形、汉字以及各种符号信息,为各种电子产品提供了友好的人机界面,点阵式图形液晶显示屏具有工作电压低、功耗低、可视面积大、体积小、无电磁干扰、数字接口、使用寿命长等特点。图4为液晶显示电路原理图。


2.3RS485通信
RS485接口组成半双工网络,选择两线制与上位机电脑相连,采用屏蔽双绞线传输。通信系统整体为总线式结构,这样1台上位机*多可以和现场32台智能仪表相连。采用MAX485芯片完成电压转换,图5为RS485通信电路原理图。

2.4DSP微处理器
TMS320F28335具有150MHz高速处理能力,具备32位浮点处理单元,6个直接内存存取通道,支持EMIF,McBSP和ADC,配备总计18路PWM波输出端口,其中有6路为专用超高精度的PWM输出,12位16通道模拟数字转换单元。由于TMS320F28335具备浮点运算单元,用户可快速编写控制算法而无需在处理小数操作上耗费过多时间和精力,与其他DSP相比,整体性能提高了一倍,并与定点C28x控制器软件兼容,从而简化了软件开发,缩短了开发周期,降低了开发成本。
3智能不锈钢柴油流量计的程序设计
3.1微处理器功能程序设计
上电后程序对DSP的硬件资源进行初始化,包括中断系统、GPIO口、定时器/计数器、通信端口及基本的时钟设置。程序每秒对接收到的脉冲进行计数,其除以仪表系数后的结果作为瞬时流量,同时在时间上对瞬时流量进行累积,计算出两种流量后,将其实时显示在液晶显示屏上,同时将数据保存,**等待上位机电脑对数据的读取。通信采用MODBUS协议,波特率为9600b/s,无校验,8位数据位,1位停止位。图6为微处理器功能设计流程图。

3.2流速修正算法
不锈钢柴油流量计中流速对仪表系数有着很大的影响,这部分误差会*大影响*终计量的精确度,传统的做法是当流速发生较大的持续变化时,需对不锈钢柴油流量计进行重新标定。针对这个问题,在不同流速下,测量了不锈钢柴油流量计的仪表系数(见表1)。

继续增大流量,仪表系数基本保持不变,故对0.4~1L/s内的数据进行参数拟合,得到拟合函数
Y=5+52.16X+16.9X2-116.22X3+83.34X4.(1)
其中自变量为流量,因变量为仪表系数。当流量介于0.4~1L/s时,采用式(1)进行计算;当流量超过1.1L/s时,保持仪表系数恒为69.9。
4结论
笔者设计一种基于DSP的智能不锈钢柴油流量计,它能够将涡轮流量传感器的脉冲信号经过调理电路输入到微处理器中,并在现场实时显示经过系统修正的瞬时流量和累积流量,同时还可以将数据远传至上位机。此智能不锈钢柴油流量计功能强大,测量精度高,有广阔的应用前景。
不锈钢柴油流量计广泛用于流量测量领域,具有安装简便、精度较高、能够直接进行脉冲输出等特点,目前广泛应用于工业及民用的流量计量等装置中。由于不锈钢柴油流量计能够直接输出脉冲,且不锈钢柴油流量计的仪表系数会随流速的变化而变化,易于使智能仪表对其脉冲流量信号进行现场处理,如果智能仪表不能实时对仪表系数进行修正,则需要对不锈钢柴油流量计进行标定,否则将产生较大测量误差。
1不锈钢柴油流量计功能概况
不锈钢柴油流量计属于速度式流量测量计,其工作原理是在流体管道内安装涡轮,利用流体流动时产生的推力使涡轮叶片转动,涡轮的转速和流体的流速将成正比例关系,同时,安装在计量仪表壳体的电磁感应接收器实时接收由叶轮转动引起的磁场变化而产生的脉冲,智能仪表收集到脉冲之后进行滤波放大,即可通过简单的比例关系计算出管道的实时流量。不锈钢柴油流量计其内部机械机构见图1。
智能仪表以DSP为处理器,它采集到涡轮流量传感器传送的脉冲信号后通过滤波放大后在处理器内进行运算,并将运算结果显示在液晶屏上,同时还能够通过RS485通信向上位机远传流量信息。图2为涡轮流量智能仪表的内部功能??榻峁雇?。


2智能不锈钢柴油流量计的硬件设计
2.1涡轮脉冲输入调理电路
由于涡轮流量传感器产生的电脉冲信号有一定的噪声信号,并且电压只有几十毫伏,所以在将信号输入到DSP处理器之前进行滤波、整形和放大。*82页图3为涡轮脉冲输入调理电路。
2.2液晶显示
液晶选择12864点阵式液晶,它能够动态显示各种图形、汉字以及各种符号信息,为各种电子产品提供了友好的人机界面,点阵式图形液晶显示屏具有工作电压低、功耗低、可视面积大、体积小、无电磁干扰、数字接口、使用寿命长等特点。图4为液晶显示电路原理图。


2.3RS485通信
RS485接口组成半双工网络,选择两线制与上位机电脑相连,采用屏蔽双绞线传输。通信系统整体为总线式结构,这样1台上位机*多可以和现场32台智能仪表相连。采用MAX485芯片完成电压转换,图5为RS485通信电路原理图。

2.4DSP微处理器
TMS320F28335具有150MHz高速处理能力,具备32位浮点处理单元,6个直接内存存取通道,支持EMIF,McBSP和ADC,配备总计18路PWM波输出端口,其中有6路为专用超高精度的PWM输出,12位16通道模拟数字转换单元。由于TMS320F28335具备浮点运算单元,用户可快速编写控制算法而无需在处理小数操作上耗费过多时间和精力,与其他DSP相比,整体性能提高了一倍,并与定点C28x控制器软件兼容,从而简化了软件开发,缩短了开发周期,降低了开发成本。
3智能不锈钢柴油流量计的程序设计
3.1微处理器功能程序设计
上电后程序对DSP的硬件资源进行初始化,包括中断系统、GPIO口、定时器/计数器、通信端口及基本的时钟设置。程序每秒对接收到的脉冲进行计数,其除以仪表系数后的结果作为瞬时流量,同时在时间上对瞬时流量进行累积,计算出两种流量后,将其实时显示在液晶显示屏上,同时将数据保存,**等待上位机电脑对数据的读取。通信采用MODBUS协议,波特率为9600b/s,无校验,8位数据位,1位停止位。图6为微处理器功能设计流程图。

3.2流速修正算法
不锈钢柴油流量计中流速对仪表系数有着很大的影响,这部分误差会*大影响*终计量的精确度,传统的做法是当流速发生较大的持续变化时,需对不锈钢柴油流量计进行重新标定。针对这个问题,在不同流速下,测量了不锈钢柴油流量计的仪表系数(见表1)。

继续增大流量,仪表系数基本保持不变,故对0.4~1L/s内的数据进行参数拟合,得到拟合函数
Y=5+52.16X+16.9X2-116.22X3+83.34X4.(1)
其中自变量为流量,因变量为仪表系数。当流量介于0.4~1L/s时,采用式(1)进行计算;当流量超过1.1L/s时,保持仪表系数恒为69.9。
4结论
笔者设计一种基于DSP的智能不锈钢柴油流量计,它能够将涡轮流量传感器的脉冲信号经过调理电路输入到微处理器中,并在现场实时显示经过系统修正的瞬时流量和累积流量,同时还可以将数据远传至上位机。此智能不锈钢柴油流量计功能强大,测量精度高,有广阔的应用前景。
上一篇:柴油流量计选型,3寸柴油流量表下一篇:数显柴油流量计,粗柴油流量计

