产品目录
液体涡轮流量计
液体流量计
水流量计
油流量计
气体涡轮流量计
椭圆齿轮流量计
电磁流量计
涡街流量计
蒸汽流量计
孔板流量计
旋进旋涡流量计
热式气体质量流量计
转子流量计
浮子流量计
靶式流量计
气体流量计
超声波流量计
磁翻板液位计
浮子液位计
浮球液位计
玻璃管液位计
雷达液位计
超声波液位计
投入式液位计
压力变送器
差压变送器
液位变送器
温度变送器
热电偶
热电阻
双金属温度计
推荐产品
联系我们
- 金湖凯铭仪表有限公司
- 联系电话:15195518515
- 在线客服:1464856260
- 电话:0517-86801009
- 传真号码:0517-86801007
- 邮箱:1464856260@qq.com
- 网址:http://www.bhdmvez.cn
- 地址:江苏省金湖县理士大道61号
液体流量计安装要求
发布时间:2021-02-25 05:47:30??点击次数:2256次
电磁流量计仪表安装
1.1 安装须知
流量计的设计、试验和供电均有安全规定,用户必须严格遵守本说明书的有关条款确保流量计的安全操作及运行。保证电磁流量计测量精度的必要条件如下:
1.被测液体介质必须具有导电性。
2.被测液体介质必须充满管道。
3.被测液体介质必须均匀,以避免电导率的不均匀性(会产生严重干扰),如需动态加入化学物质,应在仪表下游处注入。
4.电磁流量计系统必须良好接地。
5.流量计入口直管段至少 5 倍 DN (测量管道内径),出口直管段至少 2 倍 DN。
6.在流量计附近,避免强电磁场干扰,避免安装在大型电机或变压器等设备附近。
1.2 安全措施
为保障人身和设备的安全,须遵守以下条款:
1.在选择位置和安装流量计之前,必须认真阅读完本说明书有关部分,同时要考虑流量计、相关设备和机身环境的安全要求。
2.应由具备一定仪表知识的人员进行仪表的安装和维修。
3.正确安装流量计传感器及配管,保证密封安全可靠,液体压力不得超过铭*上规定的*高工作压力。
4.采取一定措施,防止触电事故。
5.流量计的吊装设备应符合安全规定。
1.3 安装前的检查
1.检查法兰、衬里、壳体和出线套有无损伤。
2.打开盒盖、检查接线印刷电路板有无松动或损坏。
3.检查铭*中型号编码与订货编码是否相符。
1.4 吊装
流量计应采用正确吊装方法进行吊装,吊装设备的安全载荷及防护措施应符合有关规定。禁止在转换器箱体(一体式流量计)或接线盒(分离型流量计)处用绳拴接起吊仪表。

1.5 正确选择安装位置
正确地选择安装位置和正确安装流量计都是非常重要的环节,若在安装环节失误,轻者影响测量精度,重者会影响流量计的使用寿命,甚至会损坏流量计。选择安装位置时应注意以下问题:
1.测量电*的轴线必须近似于水平方向(与水平线夹角一般为 10°以内)

2.测量管道内必须完全充满液体。
3.流量计的前方*少要有 5×D(D 为流量计内径)长度的直管段,后方*少要有 2×D(D为流量计内径)长度的直管段。

4.流体的流动方向和流量计的箭头方向一致。
5.管道内要有真空会损坏流量计的内衬,需特别注意。
6.在流量计附近应无强电磁场,仪表安装场所的磁场强度应小于 400A/m(避免安装在大型电机或变压器等设备附近)。
7.若测量管道有振动,在流量计的两边应有固定的支座。
8.测量不同介质的混合液时,混合点与流量计之间的距离*少要有 30×D(D 为流量计内径)。
9.为方便今后流量计的清洗和维护,应安装旁通管道。

10.安装聚四氟乙烯内衬的流量计时,连接两法兰的螺栓应注意均匀拧紧,否则容易压坏聚四氟乙烯内衬,*好用力矩扳手。
11.仪表应避免强烈振动和过大的温度变化,同时要防止腐蚀性液体的滴漏对仪表造成损害。
12.如果安装地点易受阳光曝晒,应当增加遮蔽设施。
13.安装传感器时,应保证测量管与工艺管道同轴。对 50mm 及以下公称通径的传感器,其轴线偏离不超过 2mm。DN65~DN150 其轴线偏离不超过 3mm,≥DN200 其轴线偏离不超过 4mm。
14.法兰之间加装的法兰垫圈,应有良好的耐腐蚀性能,该垫圈不得伸入管道内部。
15.紧固仪表螺栓、螺母,其螺纹应完整无损,润滑良好。应依据法兰尺寸、力矩大小采用力矩扳手紧固螺栓。
16.在传感器邻近管道进行焊接或火焰切割时,要采用隔离措施,防止衬里受热,且必须确认仪表未通电运行,防止损坏仪表。
1.6 安装方式
应安装在水平管道较低处和垂直向上处,避免安装在管道的*高点和垂直向下处。

应安装在管道的上升处。

在开口排放的管道安装,应安装在管道较低处。若管道落差超过 5m,在传感器的下游安装排气阀且传感器的下游应有一定的背压。

应在传感器的下游安装控制阀和切断阀,而不应安装在传感器上游。

传感器绝对不能安装在泵的进口处,应安装在泵的出口处。

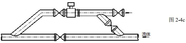
在测量井内安装流量计的方式:1.入口 2.溢流管 3. 清洗孔 4.入口栅 5. 短管 6.流量计 7.出口 8.排放阀

1.7 接地要求
电磁流量计的接地是非常重要的,若接地不好,无法正常运行,传感器部分应有良好的单独接地线(铜芯截面积为 1.6mm2),接地电阻<10Ω 。
1.接地环
若与传感器连接的管道是绝缘性的,则需用接地环,应选择其材质和电*的材质一样,若被测介质是磨损性的,应选择带颈接地环。

2.接地方式
流量计在金属管道上的安装,金属管道内壁没有绝缘涂层。

流量计在塑料或内壁有绝缘涂料、油漆、内补等管道上安装时,应在传感器的两端安装接地环。

流量计在阴*保护管道上安装,防护电解腐蚀的管道一般在其壁和外壁是绝缘的,安装时注意接地环和管道上的法兰应绝缘。

1.8 改变转换器盒的方向
转换器盒可以根据需要作四个不同方向的转变。
1.一体型流量计的转换器盒方向的改变
① 取下固定转换器盒的 4 个六角螺丝。
② 将转换器盒转到理想的方向,旋转时注意内部连接线。
③ 重新固定转换器盒。
2.分体型流量计的接线盒方向的改变
① 取下固定接线盒的 4 个六角螺丝
② 将接线盒转到理想的方向,旋转时注意内部连接线
③ 重新固定接线盒。
液体涡轮流量计产品安装事项
1.1 安装地点的选择事项
涡轮流量计设计时已考虑到了在恶劣环境条件下工作的情况,但是为长期保持其精确度和稳定性,在选择安装地点时还是要注意下列事项:
环境温度:避免安装在环境温度变化很大的场所。如果受到热辐射,须有隔热通风的措施。
环境空气:避免把流量计安装在含有腐蚀性气体的环境中。如果一定要安装在这样的环境中,则必须提供通风措施。
机械振动和冲击:仪表的结构很坚固,但在选择安装场所时应尽量避免机械振动或碰撞冲击。如果仪表安装在振动较大的管道上,则管道需加支撑。
限制使用无线电收发机:流量计的电气部分是可以抗高频电噪声干扰的。但是如果太靠近仪表处使用无线电收发机,那么高频噪声干扰就会影响到仪表。查看一下仪表安装场所,仪表是否受到无线电收发机的影响(把无线电收发机从几米远处移向仪表,看是否受到影响)。如有的话,就把收发机远离该场所。
其它:仪表的周围应留有适当的空间,以便于设备安装和定期检修。如若必须安装在室外,须有防雨淋和遮阳措施。
1.2 安装前的检查
为保证使用时的*佳性能,用户应注意以下安装前的检查要求:
①安装涡轮流量计前,管道一定要清扫。被测介质不清洁或含有杂质时,轴承、叶轮*易被卡死或损伤,严重损坏涡轮流量计,直接影响流量计性能。此时,应加装过滤器,过滤网目数根据流体杂质情况而定,一般为 20~60 目。当流体中混有游离气体时,应加装消气器,特别是用于贸易计量时不能忽略,要设置空气分离器以防发生这种情况。整个管道系统应密封良好。
②在安装前用嘴对流量传感器的叶轮吹气使其快速旋转,定性判断其性能。若发现不转,必须返回维修,不得自行拆装,以免影响测量性能。
③安装涡轮流量计时,前后管道法兰要检查水平,否则管道应力对流量计影响很大。
④流量传感器可以安装在水平或者垂直位置,流体流动方向应与壳体上的流向标志一致。水平安装的传感器要求管道不应有目测可察觉的倾斜(一般在 5°以内),垂直安装的传感器管道垂直度偏差亦应不大于 5°。在垂直安装时,应安装在流向向上的管道上,以保证流体充满管道。传感器的管道应与上、下游直管段同心安装。连接密封用的垫圈不得伸入管道内腔。上下游侧应有与流量传感器相同公称口径的、长度分别不少于 20DN 和 5DN 的直管段,其内壁应光滑清洁,无明显凹痕、积垢和起皮等缺陷,否则应在上游安装整流器。
⑤流量传感器是精密机械类仪表,叶轮转速很高,流速的突然变化会损坏叶轮,所以应将调节流量的阀门安装在传感器的下游方向,且缓慢调节流量,严防发生水击现象。
⑥流量传感器的仪表系数 K 对流体黏度的变化是敏感的,出厂时用水标定。当测量黏度大于 3MPa?s的流体时,流量测量范围和仪表系数有可能发生变化。为保证测量准确度,在订货时必须注明介质。
⑦用户应充分了解被测介质的腐蚀情况,严防传感器受腐蚀。
⑧流量计周围不能有强的外磁场干扰及强烈的机械振动。传感器应远离外界电场、磁场,必要时采取有效屏蔽措施,以避免外来干扰。流量计尽可能远离泵、冷冻机等振动源。
⑨在室外安装时,上部应有遮盖物,以免雨水浸入和烈日暴晒而影响流量计使用寿命。
⑩进行管道耐压试验时,涡轮流量计不得安装在管道上。
1.3 安装方法
涡轮流量传感器的安装布置简图如图 6-1。
涡轮流量计在出厂时将流量传感器、检测部件、流量显示仪表等组件分开包装,在现场安装的步骤如下:
①检查传感器、检测部件、流量显示仪表的出厂编号(或仪表系数)是否一致,切不可将不同出厂编号(或仪表系数)的组件混合安装,以免影响测量准确度。
②按安装要求将传感器组件装在管路上。
③用螺纹连接方式将检测部件固定在传感器组件上。
④在传感器壳体上安装流量显示仪表组件(整体安装),或将流量显示仪表安装在传感器附件的管路上。

1.4 流量计的安装
1.在安装涡轮流量传感器时,必须保证满管安装,即管道中充满流体。否则流量测量会受到影响,导致测量误差。水平安装时如图 6-2 示意安装,垂直时如图 6-3 示意安装。

2.若流量传感器安装位置位于管线的低点,为防止流体中杂质沉淀滞留,应在其后的管线安装排放阀,定期排放沉淀杂质。
3.流量计一般水平安装,要垂直安装时需在订货时说明。

4.流量传感器不应装在水平管线的*高点,以免管线内聚集的气体(如停流时混入空气)停留在流量传感器处不易排出而影响测量。正确安装参见图 6-4 的方式。
5.传感器的安装方式根据规格不同,采用螺纹或者法兰安装。严禁在流量计壳体上进行焊接。焊接时必须将流量计拆离管线。
6.安装流量计前应将管道内的杂物、焊渣、粉尘清理干净。
7.在需要连续运行不能停流的场合,为了检修时不致影响流体的正常输送,建议在流量传感器的安装处,按图 6-1 设置旁通管路和可靠的截止阀,测量时应保证旁通管路无泄漏。
8.流量计安装时,其上、下游应根据使用说明书的要求配置相应长度的直管段。传感器上游端至少有 20 倍公称通径长度的直管段,下游端应不少于 5 倍公称通径长度的直管段。
9.为保证流量计的使用寿命,必须安装过滤器。对于不能停流的,应并联安装两套过滤器,轮流清除杂质,或选用自动清洗型过滤器。
10.安装时注意流体方向,不得反向安装。
11.需要安装流量调节阀的场合,调节阀应安装在流量计的下游处,以减少来自上游的流量干扰,利于流量的调节稳定。上游侧的截止阀测量时应全开,且这些阀门都不得产生振动和向外泄漏。压力表可装在上下游进出口处,温度计应装在下游 5DN 处。对于可能产生逆向流的管线应加装止回阀以防止流体反向流动。
12.流量传感器露天安装时,请做好遮阳和防雨淋措施。
13.流量计外壳设有接地端子,应可靠接地,但不得与强电系统地线共用。
14.现场安装、维护必须遵守“有爆炸性气体时勿开盖”的警告语,并在开盖前关掉外电源。
15.拆装流量计时,对磁感应部分不能碰撞。
16.投入运行前先进行仪表系数的设定。仔细检查,确保仪表接线无误,接地良好,方可送电。
17.涡轮流量计所安装的管道不得对其施加任何应力。
18.进行管道耐压试验时,涡轮流量计不得安装在管道上。
19.流量计显示仪表应可以转动一定角度。
1.5 连接管道的安装
流量计连接管道的安装情况对流量计的测量准确度影响很大。
安装配管的要求:
①流速分布不均和管内二次流的存在是影响涡轮流量计测量准确度的重要因素。涡轮流量计对上、下游直管段有一定要求。在工业测量上,一般要求上游 20D,下游 5D 的直管长度。为消除二次流动,*好在上游端加装整流器。这样可使流量计的测量准确度达到标定时的准确度等级。
②保证通过流量计的液体是单相流,即不能混有空气或者蒸气,如有则需加装消气器。对于易气化的液体,在流量计下游必须保证一定背压。该背压的大小可取*大流量下流量传感器压降的二倍加上*高温度下被测液体蒸气压的 1.2 倍。
③管道内安装过滤器保证流体的清洁。
④消气器和过滤器的消气口和排污口要通向安全的场所。
⑤与流量计相连接的前后管道的内径应与流量计口径一致。管道和流量计连接处不许有凸出物伸入管道内,以免改变通道截面和流量计进口流场分布,并要求管道中心河流量计中心一致。流量计上游直管段长度 L 与管道内径 D 的比值应满足式 6-1 的要求:

式中
K—漩涡速度比,取决于流量计上游局部阻流件的类型;
f—管道内壁摩擦系数,流动处于紊流状态时一般可取 0.0175。
K 值与上游直管段长度见表 6-1:

若上游局部阻流件状况不明确,一般推荐上游直管段长度应不小于 20D,下游直管段长度不小于5D。当上游直管段不能满足要求时,应在流量计和阻流件之间安装流动调整器。
1.6 电气连接
安装显示仪表前*先核对传感器的输出特性(输出脉冲的频率范围、幅值、脉宽等)与显示仪表输入特征是否相配。按照传感器的仪表系数设定显示仪表的参数。核对传感器电源和线制,以及阻抗匹配。本质安全防爆型流量传感器还应核对安全栅型号规格。
信号传输线要求:
为了保证显示仪表对涡轮传感器输出的脉冲信号有足够的灵敏度,就要提高信噪比。为此,传感器的前置放大器如装在现场,还要防电磁干扰,即电磁感应、静电及电容耦合。如在室外,还应采取防雨淋等措施。在配置信号传输线时,必须注意以下几点:
①限制信号线的*大长度。信号线的*大长度为 L=D×v,其中,V 为在*小流量时传感线圈的输出电压有效值,mV;d 为系数,m/mV,其值可?。?V<1000mV 时,d=1.0;1000mV<V<5000mV 时,d=1.5;V>5000mV 时,d=2.0。
②传输电缆通常用带有防护套和屏蔽功能的双芯或三芯通信电缆,有效截面积(1.25~2)mm2。要求传输电缆在显示仪表端屏蔽接地。尽可能用一根完整的电缆(即中间不接续)。电缆*好装入金属管里,以避免机械损伤。该金属管如同时装入另一电缆,则该电缆输送*大功率不能大于本仪表流量信号电缆输出*小功率的 10 倍。
传输电缆的路径不应与动力电源线平行,也不要敷设在动力电源线集中的区域,以避免电磁干扰。
注意:请务必在通电前完成所有接线并检查接线是否正确,切勿接反,否则容易损坏放大器板。
1.7 电气部件模拟运行
电气部分连接完成后,取下传感器的检测头并做好检测头安装标记,以便复原。用铁片靠在检测头下方快速移动,显示仪表的累积计数显示应连续地增加,可认为电气部分完好。
椭圆齿轮流量计的安装使用
1.1 流量计前应安装配套过滤器,且配套过滤器的出口紧接流量计的入口,两者本体上箭头指向 与液体流向一致。
1.2 当被测液体含有气体时,流量计前应安装消气过滤器。
1.3 不论管路是垂直还是水平安装,但流量计中的椭圆齿轮应安装成水平位置(即表度盘应与地 面垂直)。
1.4 流量计在正确安装情况下,如果不易看清读数,可把计数器转向 180 度或 90 度均可。
1.5 新流量计在安装前先用竹棍从出口处把椭圆齿轮推几次,如发现不动,可以用柴油浸泡(避免 出厂校验后内存沉淀物)。
1.6 流量控制阀应安装在流量计进口处,开闭阀门装在出口处,使用开闭阀时缓慢启动,不要突 然开启以防“水击”现象。
1.7 在新管道上安装流量计前,管道需要冲洗,冲洗时采用直管段(替代流量计位置)防止焊渣, 杂物等进入流量计。
1.8 严禁用水校验铸铁、铸钢材质的流量计。
1.9 流量计在使用时流量大小不得超过技术要求.流量计工作在*大流量 50—80%为优。
2.0 被测液体如果具有化学腐蚀性,须选用不锈钢材质的流量计。
金属管浮子流量计使用与维修
1. 安装流量计之前一定要将管道内的焊渣、杂物清理干净。
2. 流量计必须垂直于地面安装其倾斜度不得超过 2°。否则会影响测量准确度。
3. 为了确保流量计的测量准确性,应在流量计的进口端增加不少于 10DN 的直管段,出口端不少于 5DN 的直管段,测量时调节控制阀必须安装在流量计的下游。
4. 若被測介质为大的脉动流或两相流,应在流量计的上游安装缓冲器来消除或减弱脉动,保证介质的流动是单相稳定的,同时,建议流量计*好使用阻尼型的。
5. 若被測介质较脏或含有导磁颗粒时,应在流量计的上游安装过滤器或磁过滤器。
6. 流量计的安装应能适当支撑管道的振动或减少流量计的轴向负荷,否则应增加固定流量计的支撑。
7. 为了便于流量计的保养维修,磁过滤器的清洗以及用户管路的定期维护保养,建议使用如图所示的旁路管道。
8. 当流量计用于气体测量时,应保证管道内的工作压力不少于 5 倍流量计的压力损失,使流量计能够稳定正常动作。
9. 对电远传及带报警限位开关的流量计在使用前,打开仪表盖,按接线图示正确接线。对于报警型的旋松限位开关处的螺丝,用户根据需要设定限位报警位置,并旋紧螺丝,复原后使用。
10. 按仪表指示器中的警示*,取出运输中防止浮子振动的阻动件,复原后再使用仪表。
11. 若开启流量计时,由于管道内没有压力或系统还未达到仪表正常使用的工作压力,必须缓慢开启控制阀,直到系统正常,仪表方可使用,否则容易造成指针跳动或浮子的突然撞击而损坏的现象。
12. 用户使用时,若被測流体的密度与水不同时,或被測气体的参数和工作状态与制造厂家规定不同时应对流量计示值读数进行换算,换算方法见附录。
超声波流量计安装步骤(分为三步骤)
*一步骤:快速输入核对所安装管道参数

*二步骤:接线(接主机线和探头线)
一.主机部分接线如图所示:

(1)电源接线
电源接线按照接线图标识:有 AC 220V 和 DC 24V 两种电源,任选一种
(2)传感器接线
下游探头接:从左到右 1 2 3 接线端子,GND DN- DN+,屏蔽线通??刹唤?,通常默认只需要接 DN- DN+ (从左到右 2 号端子 3 号端子)
上游探头接:从左到右 4 5 6 接线端子,GND UP- UP+,屏蔽线通??刹唤樱ǔD现恍枰?UP- UP+ (从左到右 5 号端子 6 号端子)
(3)4-20mA 电流输出接线
4-20mA 接:AO 和 24V-两个端子,AO 端子接 4-20mA+ 24V-端子接 4-20mA-
(4)485 通讯接线
485 通讯接:485 OUT A 485 OUTB
(5)热量表接线
热量功能供水接:TX1 T1 GND;热量功能回水接:TX2 T2 GND;(供水回水 GND 共接)
(6)继电器接线
RELAY+ RELAY-
二.探头部分接线如图所示:

屏蔽线通??刹唤?,通常默认只需要接 + - 两个端子
*三步骤:选择安装位置,打磨管道,安装探头
安装传感器,*先选择欲安装位置(安装位置要满管稳流,离泵和弯头要远!),选定后, 使用角磨机或者粗砂纸将欲安装传感器的区域抛光,除掉锈迹油漆或防锈层,露出管道金属 本质,然后在传感器上涂抹足够的耦合剂,*后把传感器紧贴在管壁上并捆绑好,夹具(不 锈钢带)应固定好,使之受力均匀;注意传感器和管壁之间不能有空气泡和沙砾等脏东西。
安装距离
外夹式传感器安装间距以两传感器的*内边缘距离减去 35mm 为准(参见安装距离定义 示意图),间距的计算方法是*先在菜单中输入所需的参数以后,查看窗口 M25 所显示的数 字,并按此数据减去 35mm(Z 法安装)安装传感器。

安装方式
外夹式传感器的安装方式共有三种。分别是 Z 法、N 法和 W 法。(默认为 Z 法安装?。?Z 法
Z 法是*常用的安装方法,特点是超声波在管道中直接传输,无反射(称为单声程), 信号衰减损耗*小。Z 法可测管径范围为 15mm-6000mm。现场实际安装时,都选用 Z 法(这 样测得信号*大)
注意:
(1)此图为顶视图,两个探头在现场安装时是管道两侧,不是上下!??!
(2)参数设置正确后,实际探头安装距离为表里 M25 表示的安装距离减去 35mm?。。?/div>

上一篇:液体流量计的分类与介绍下一篇:液体流量计的工作原理

